苹果招聘启事透露其混合现实头显或将会有 3D 世界和视频服务
今日早间消息,据报道,作为苹果的下一款重要产品,混合现实头显有望将该公司带入新的计算时代。
要说今年智能手机行业的关键词是哪个?折叠屏绝对是当仁不让的第一。目前已经确定的华为和三星都将表示将于月底举行的MWC上举办新品发布会,为我们带来自家的折叠屏手机。由此可见,折叠屏手机对于当今的手机市场来说,绝对是一个全新的爆点。这不,就连国际科技大佬苹果也坐不住了,近日网上曝光了苹果提交的可折叠手机专利,“弯的iPhone”终于要来了?

苹果专利图
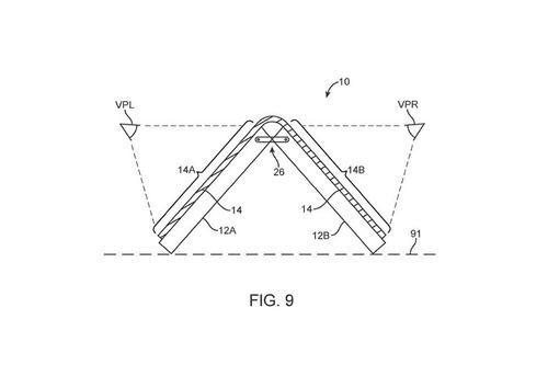
据外媒报道称,近日有多家企业向美国专利商标局(USPTO)提交了新的专利,其中曝光的就有苹果提交的专利图片。从专利图片来看,苹果应该也是采用了转轴的设计,中间还有一个类似卡扣的装置。至于柔性屏方面,不出意外应该还是合作愉快的三星Display。

作为科技圈大老的苹果,一直以来在新技术的研发和应用上都比较保守。苹果似乎是一直本着“宁晚勿滥”的宗旨。不过对于用户们来说,如今手机的更新换代速度实在太快,缓慢的更新节奏显然无法满足见多识广的消费者们。这下就连苹果也坐不住了。不过折叠手机目前还处于起步阶段,具体这些大厂们能够做到什么样的程度,让我们拭目以待吧!
图文来苹果汇,如有侵权请联系删除。