根据彭博社报告,由于新型冠状病毒肺炎疫情严重,苹果不再允许员工前往意大利或韩国。
该设备可以完全从表带上取下,并且可以当成便携媒体播放器来使用。


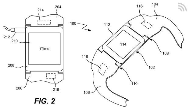
根据国外媒体报道,本周美国专利商标局(USPTO)通过了苹果一项专利号为No.8787006的新专利。该项名为“佩戴在手腕部的电子设备与相关操作流程”,专利描述表示“这是一款电子腕带,用户可以在手腕上佩戴。它的中心部位有一插座,可以固定并连接一款移动式的电子设备。这款设备配有显示器,可独立使用。腕带部分与中心部位至少有一处连接。”
并且在专利的描述文件中出现了“iTime”的字样,而根据专利的描述内容来看这款设备的特性与苹果即将发布的iWatch非常接近,甚至也有可能直接将自己的智能手表命名为“iTime”。
从专利的一张图例说明中我们可以看到,该设备可以完全从表带上取下,并且可以当成便携媒体播放器来使用。该设备采用了正方形的显示屏,这与将iPod Nano作为核心的概念设计非常类似。该专利还提到了加速器、GPS模块、Wi-Fi广播和触觉反馈等功能。
这项专利显示,这款智能手表将在一个所谓的“个人无线环境”中与 iPhone、iPad 和其他电脑实现同步。它支持表带扩展,就像谷歌眼镜一样,支持手势操控。比如用户抖动一下手腕,就可以接通来电,而摇晃两下手腕,实现拒接来电。包括打入的电话、短信、社交网络信息和新闻提要等,都可以直接在这款装置的显示屏上显示。另外,通过应用程序还可以显示推送的通知,用户可以直接通过这款设备与智能手机等源设备进行信息交互。此外该设备可与手机结合使用,如果手机的位置与其超出了一定的距离,该设备就会自动提醒主人是否忘记携带手机或者手机已经被盗,同时它还会显示手机最近时间的位置信息。
目前,外界普遍预测苹果在将推出的iWatch中将会引入与上面专利所描述非常接近的功能。而根据此前报道,苹果公司将推出一款1.6英寸显示屏版本的iWatch以及两款1.8英寸显示屏的款型,其中一款将配备蓝宝石显示屏。还有消息称iWatch将拥有2.5英寸长方形OLED显示屏。同时这款设备也将会着重关注健康及疾病方面的信息,内置强大的追踪功能。
目前关于苹果这款名为“iWatch”或“iTime”智能手表的上市时间仍然没有准确的消息,不过之前凯基证券的分析师郭明池曾经预测iWatch将在今年11月份开始生产,并于12月之前或2015年年初推出。同时本月早些时候,摩根士丹利的分析师曾预测,苹果iWatch的售价可能在300美元左右,销量应该在3000到6000万部。
这项“iTime”专利苹果在2011年正式提出申请,专利持有人为Albert J.Golko、Mathias W.Schmidt和Felix Alvarez。